The peculiarities of our climatic zone allow us to enjoy both hot summers and cold winters equally. But so that the only memory of the past winter does not become snow clearing, many decide to purchase a manual snow blower. This simple device will help you eliminate unnecessary physical efforts and will also save you tons of time. Let's consider what options for devices are, and by what principle they should be chosen.
Content
- 1 Manual snow blower: scope of the device
- 2 The device and varieties of a snowblower
- 3 How to choose and buy a manual snow blower: features of the main elements
- 4 How to make a manual snow blower with your own hands
- 5 Ready-made manual snow blower: price and characteristics of the most popular model
- 6 Features of storage and operation of a manual snow blower
Manual snow blower: scope of the device
A manual snow blower is a device designed to save you the trouble of clearing a snow-covered house with a shovel. In general, in order to get rid of the snow that has fallen out and provide yourself with free passage to any point, there are only three ways: to scatter the snow with a shovel, use a snow blower, or equip a snow melting system.
By far the least expensive option is a shovel. But one cannot but agree that this method takes a lot of time and effort. Moreover, new snow falls constantly in winter, and you can get an unpleasant surprise in the form of snowdrifts any morning. A more convenient, but at the same time, and difficult to install method is the snow melting system. But it is worth noting that many consider this option too expensive and unjustified.
That is why the manual snow blower has firmly taken its position among the methods of clearing snow, and is widely used in everyday life. Its performance allows you to easily clear snow from an exit road or a small yard, the area of which does not exceed 400 square meters. m. But how quickly you can clear a particular area directly depends on the weather conditions, as well as the technical characteristics of a particular device model.
In the process of clearing snow, the size of the bucket plays an important role. After all, it is this parameter that determines how high a snowdrift you can remove. Sometimes there is additionally a height adjustment using additional legs. This significantly expands the capabilities of the snow blower.
A manual snow blower is an excellent solution for those who travel to the country in winter or live in a country house. Unlike a full-fledged snowplow, this option is much more compact. It is easier to store and easier to care for. Let's consider how to choose the most suitable model for yourself, what characteristics you should pay attention to and how these devices are arranged.
The device and varieties of a snowblower
The principle of operation of a snow blower is very simple: it captures snow in its path and throws it aside, thus clearing the path along which it moves. Depending on the features of the mechanism that carries out this process, one-stage and two-stage units are distinguished.
Single-stage ones are also called auger ones, and they use a special pipe to throw snow. This process is carried out by mechanical rotation of the screw. In two-stage systems, the mechanism of action is slightly different: the auger collects the snow, while the other part, the rotor, is responsible for the ejection.
Depending on the conditions in which you plan to use the snowplow, the working surface of the auger may be different. Its device can be compared to a knife, the edge of which literally cuts off the top of the snow. So, if the snow has only recently fallen, it is more convenient to use an even edge, while a jagged surface will cope better with icy and long-standing snow. In turn, the serrated edges differ in the number and size of the serrations.
Depending on the material from which they are made, the augers of manual snow blowers are steel, rubber, and even plastic. Of course, this or that option has its advantages, however, they all fail quite easily when colliding with obstacles such as stones, stumps and logs. One-stage devices are particularly affected by this, where the speed of rotation of the screws for throwing snow must be maximum.
How to choose and buy a manual snow blower: features of the main elements
The purchase of a manual snow blower implies its use exclusively in everyday life. However, even with home use, there are many requirements for this device. And the impeller material is one of the main ones. Undoubtedly, metal parts have a serious advantage over plastic ones: they last longer and are able to withstand significant loads. But at the same time, the cost of such devices is much more expensive.
Another important point is the choice of the motor. Obviously, it is the motor that is the main driving force of any such mechanism, and the results of your work, as well as the amount of effort expended, directly depend on its quality. The two biggest challenges a snow blower motor has to deal with are freezing temperatures and hard objects that can get inside. A breakdown of one component leads to a malfunction of the entire system.
Helpful advice! It is important to understand that despite the huge selection of manual snow blowers from various brands, very few companies use their own motors. Quite often, the same motors are purchased, which are simply equipped in different ways.

Make do-it-yourself snow blower not difficult, and as a result you can get a good device for relatively little money
As a preventive measure for the occurrence of malfunctions, the following connection scheme is used: using a pin or a sheared bolt, which acts as a fuse, the auger is fixed to the drive shaft. This system allows the bolt or pin to break instantly if the auger becomes blocked.Indeed, it is much easier to replace such a small component than to deal with complex and expensive motor repairs.
Depending on the type, snow blower motors can be divided into two classes: electric and two-stroke combustion engines. It is more profitable and rational to use the second option, however, electric motors also have a number of advantages: they are cheaper, lightweight, do not pollute the atmosphere, are easier to maintain and have a significantly lower vibration level.
How to make a manual snow blower with your own hands
Often, the owners of country houses are seriously wondering whether it is possible to assemble a manual snow blower on their own, using available materials for this. And the answer to this question is unequivocally positive. Of course, certain skills and materials will be required, but if you use the drawings and instructions that are offered on the Internet, you can significantly save on buying a snow blower.
First of all, you need to decide what kind of snow blower you want to make. You can independently assemble both a mechanical and an electric manual snow blower. Consider the algorithm for creating one of the representatives of each type in stages.
DIY household mechanical snow blower
To create the simplest of the representatives of hand-held snow blowers, you can use almost any parts and materials at hand. Spare parts from old electrical appliances, as well as other metal elements are suitable. As a guide, you can use the corresponding drawings or step-by-step instructions.
A metal frame made of pipes or corners acts as the basis of the structure. By installing it on runners or wheels, the rest of the mechanism will be attached to it. The easiest way to make runners is to use wooden blocks of a suitable shape, from the bottom of which a cut irrigation hose or strips of tin, plastic, etc. are fixed.
Helpful advice! If it is quite acceptable to use materials at hand as runners, then wheels of a suitable size will most likely have to be purchased separately.
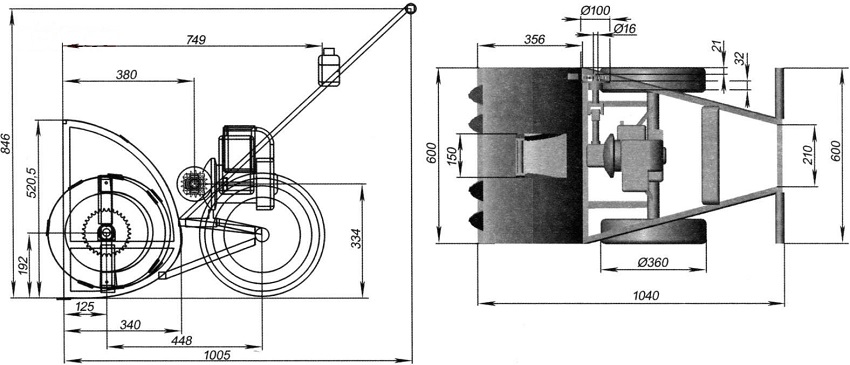
An engine must be attached to the frame, the number of revolutions of which does not exceed 1.5 thousand per minute, and the power is 5-6 kW. To drive the mechanism through a gearbox, the easiest way is to use a chain drive and sprockets from a bicycle. As for the auger, it is mounted on a metal pipe, which, in turn, is attached to the side walls of the snow bucket in such a way as to be able to rotate.
In order to make the auger yourself, you need 4 blades, which can be cut from metal or a conveyor belt. A plate is additionally attached to the center of the pipe, which will act as a base, which will act as a blade and will be able to throw snow into the pipe. The blades, in turn, are attached on one side to the blade, and on the other to the shaft (in some cases, you can find recommendations for the use of an additional plate that strengthens the structure). For the mechanism to work properly, the blades must be positioned in different directions, creating cross spirals.
Helpful advice! It is important to correctly calculate the required diameter of the metal rings so that during rotation they do not touch the rear wall of the bucket, but at the same time they are not located too far.
With regard to throwing snow, the device of this system is also not too difficult to install. It is enough just to make a hole in the upper part of the box where the pipe will be inserted (usually the diameter is from 15 to 18 cm).
The finishing touch is the control knobs, which can be made from metal corners or pipes.After that, it remains only to clean and paint the finished snow blower, and you can start working.
DIY electric manual snow blower: step by step instructions
The algorithm for creating an electric snow blower looks a little different. In the process of creating, such a device is certainly a little more complicated, however, further work with it will be much easier in comparison with mechanical models. Consider the step-by-step instructions for assembling such a structure:
- creation of a screw. The process of making a screw for an electric snow blower is not much different from a mechanical one. In the same way, the manufacture of a shaft and rings will be required. And a plate is additionally attached to the center of the main pipe, which feeds snow to the outlet chute;
- bucket manufacturing. For the bucket, it is best to use roofing iron, as it is strong enough, and at the same time has all the necessary qualities. Its design is extremely simple: it must cover the auger from three sides;
Helpful advice! The sidewalls of the bucket do not need to be metal. They can also be made of plywood, at least 10 mm thick.
- with the help of self-aligning bearings, a shaft with auger is attached to the side walls. In this case, the distance from the edges of the spiral to the inner wall of the bucket should be at least 2 cm. A piece of sewer pipe with a diameter of 15 cm or more is perfect for arranging the outlet chute. The main rule in this case is that the diameter of the outlet pipe must be larger than the width of the plate, which is responsible for the emission of snow;

The volume of snow capture depends on the size of the bucket, that is, the width and height of the snowdrift that the snow blower is able to remove
- for a reliable and convenient installation of an electric motor, a U-shaped frame is additionally manufactured, consisting of metal corners. For additional fixing of the motor, metal strips are used;
- in order to ensure a comfortable and uniform movement of the device, wheels or skis are also used. It is important here that the distance from them to the frame is minimal. If you decide to opt for wheels, then pay attention that they are resistant to frost and provide maximum grip of the snow blower with the surface;
- if you want to make a rotary structure, then you must additionally make a structure that is an axis with four rectangular plates. For better collection of snow, they should have special rims at the edges. In this case, it is important to observe the proportions so that the rotor does not come into contact with the bucket during operation;
Related article:
Snow blower for walk-behind tractor: principle of operation and basics of self-assembly
How to assemble by yourself. Snow blower manufacturing options. Characteristics of various models. Self-installation instructions.
- the next stage is the main difference between an electric snow blower and a mechanical one - an electric motor. For this purpose, any device with a power of about 1 kW is suitable. Here, the main thing is to provide reliable protection against snow and water in order to avoid malfunction and short circuit. It is also worth paying attention to the condition and length of the cord: it should not be damaged, and its length should be sufficient;
- at the end of the work, it is necessary to provide a connection between the auger and the motor. To do this, you can use two methods: belt feed or using a gearbox. The first option is possible only if the axes of the motor and the shaft are parallel. In this case, they are connected to each other by a transmission belt. The second option requires a perpendicular position of the shaft and motor.

Snow throwing range is more dependent on the characteristics of the snow blower and the direction of the wind
Ready-made manual snow blower: price and characteristics of the most popular model
If, after reading the instructions for making a manual snow blower on wheels with your own hands, you come to the conclusion that such efforts are unjustified, and it is much easier to purchase a ready-made device, then consider the two most popular models that combine high performance and an affordable price.
Mechanical snow blower Forte QI JY 50
The Forte QI JY 50 manual snow blower is a simple, yet handy device when it comes to cleaning small areas. With a very low weight (only 3.82 kg) and small dimensions, this snow blower allows you to clean even the most difficult-to-reach areas efficiently.
For the manufacture of the Forte manual snow blower, only heavy-duty plastic is used, which, according to the manufacturer, is capable of withstanding serious loads.
However, before buying a mechanical Forte QI JY 50 snow blower, we recommend that you pay attention to reviews of real buyers who use this device. According to many of them, this snow blower copes well with recently fallen, loose snow. But wet and stale snow clogs up the mechanism quickly enough, negatively affecting the speed of work.
Another feature that you need to know before buying a Forte QI JY 50 manual snow blower is that it is capable of throwing snow only to the right side. This is not to say that this is a significant factor when choosing, because you can always change the direction of your movement, however, it is better to know about this in advance.
The price of the Forte QI JY 50 manual snow blower starts at 907 rubles and may increase, depending on the store that offers this product. But even in this case, almost everyone can afford to buy a Forte QI JY 50 snow blower, and be that as it may, it is an excellent alternative to a shovel.
Manual petrol snowplow Hyundai S 5555
As an antiphone, you can consider another popular, but much more expensive option - a device from Hyundai. Its manufacturers have provided for a two-stage cleaning system, as well as a fairly powerful gasoline engine with a volume of 2.6 liters. All elements are made of metal, which accounts for the significant weight of the structure - 72 kg.
Among the pleasant additions, there is an adjustment of the snow throwing range - from 1 to 10 m.Among the difficulties that users note during operation are rather large dimensions that require free storage space, as well as not quite simple assembly, if you decide to do this yourself.
Features of storage and operation of a manual snow blower
Like any other equipment, snowblowers, regardless of the nature of their origin (homemade or purchased), require careful handling and adherence to operating rules. Indeed, only under this condition can you expect that the device will serve you long enough and without breakdowns. Let's consider what conditions the device needs to provide at different times of the year.
Caring for the snow blower during active use
Before starting the first snow removal this season, be sure to conduct a routine inspection of the equipment. Check the reliability of all fasteners, the condition of the belts, make sure there are no defects or damage. If necessary, check the presence of oil in the engine and the condition of the spark plugs. Take special care to ensure that there are no foreign objects in the moving parts of the appliance.
Once you have verified that the snow blower is working properly, you can start it. However, there are some subtleties here as well. Do not rush and get to work immediately. Let the engine idle for a few minutes.Thus, the oil will be able to warm up, which will ensure smoother and safer operation of all elements.
After the cleaning is over, do not rush to turn off the engine immediately. Leave the appliance running for a few minutes so that any snow that might remain inside the appliance also melts.
Helpful advice! The most common mistake made by owners of snow removal equipment is cleaning the device in a warm place immediately after the end of work. This approach will certainly provoke the appearance of corrosion of metal elements.
Caring for the snow blower during storage
Storage conditions are the second most important factor in determining the lifespan of a snow blower. And so that with the onset of next winter you do not have to face an unpleasant surprise, in the form of a snowplow breakdown, you must follow a number of the following rules:
- in order to avoid corrosive processes, the snow blower must be thoroughly cleaned before storage;
- conduct a routine inspection of all fasteners, moving parts. Pay particular attention to the degree of belt wear. If they require replacement, it is better to do it right away, not postponing until the moment you need a working snow blower;
- for better preservation of metal parts and prevention of rust, it is recommended to lubricate with a special preservative oil. Indeed, even if you store the snow blower indoors, air humidity can also have a certain effect when it comes to a long period of time;
- and, of course, do not forget about draining gasoline when it comes to a model with a gasoline tank.
Here are some more simple tips to help you store your snow blower properly:
- The room where the snow blower is stored must be provided with high-quality ventilation, or regularly ventilated.
- Always use a special storage case to avoid dust and dirt from settling on the device.
- Keep the snow blower away from sources of fire and heat. In general, try to keep it as stable as possible.
- Long-term storage of the snow blower outdoors leads to a significant reduction in the period of its operation.
Regardless of what kind of snow blower you decide to buy: mechanical, electric, or just use a homemade manual model, this issue needs to be paid attention. After all, if you responsibly approach the choice, as well as the creation of storage conditions, then the newly fallen snow will bring you only joy.



















