Anyone who loves to independently craft various products and structures, often faces the need to bend a profile pipe into an arc. It is impossible to do this smoothly and accurately without special devices, so there is a need to make a pipe bender for a profile pipe with your own hands. Craftsmen have invented a lot of designs for this device. Many of them can be done on your own. Moreover, they do not require large funds and are easy to manufacture and use.
Content
Basic information about pipe benders
Before starting a story about the options and methods for making pipe benders, you need to decide what it is and what it is used for. So a pipe bender is a manual device or a stationary machine that allows you to bend a pipe made of any material at an arbitrary angle.
The pipe can be steel, copper, aluminum or plastic with a diameter from 5 to 1220 mm or profile with any section. Bend angle from 0 to 180 degrees. This article brings to your attention the manufacturing technology of several types of this uncomplicated device, having studied which, in a few hours you can make any instance you like.
Useful advice! Before you start making a pipe bender, you need to understand their types. You should choose the one that is most suitable for you in terms of functionality and is feasible for self-production by you.
What are the types of pipe benders
If we are talking about industrial devices, then they are divided into several types according to the method of the drive, as well as the type of bending.
Classification by drive type
There are machines: hydraulic, electromechanical and manual. Hydraulic-driven machines are manual and stationary. They are powerful enough to bend pipes even 3-inch diameter. Hydraulic pipe benders are used in professional activities in specialized industries and are capable of performing a very large amount of work.
Electromechanical devices can be used to bend almost any pipe, even with very thin walls, which is beyond the power of hydraulics. After all, electronics allows you to very accurately calculate the force and angle of bending, which prevents the material from breaking.The pipes bent by such devices do not show the slightest signs of deformation.
Manual pipe benders are used only for bending small diameter pipes made of polymers, stainless steel or non-ferrous metals. They work mainly from the mains. They are easy to use and do not require much physical strength to work. It is quite possible to make such pipe benders for a profile pipe with your own hands.
Classification by pipe bending method
You can bend a pipe using the device in various ways. Depending on this, the following types of pipe benders can be distinguished: crossbow, spring, segmental, mandrel.
Crossbow devices are equipped with a special shape, which is a bending element. It is designed for one pipe diameter or section. To bend a pipe of a different diameter, the mold must be replaced. The spring devices are equipped with elastic springs that allow plastic pipes to be bent without deformation. Segmented ones are equipped with a special segment that pulls the pipe around itself, bending it at the desired angle.

Flexion principle shaped pipe using a homemade tool
It should be understood that the method and value of the pipe bending angle depends on its characteristics. There is even such a value as the minimum bend radius, with a further decrease in which the pipe deforms or simply breaks. This indicator depends on the wall thickness, material and section of the pipe.
Useful advice! Whether or not the pipe can be bent more than prescribed, this should not be done. Even if you can bend the product without damage, the quality of this fold will be poor, and this will sooner or later show up. Therefore, the minimum radius must be adhered to.

One of the options for using a bent profile is arrangement greenhouses
How to make the simplest manual pipe bender for a profile pipe with your own hands
Now let's look at some homemade pipe benders. The simplest option provides for the possibility of bending the pipe by means of a template to a given radius. This technology is also suitable for bending steel pipes, not just aluminum ones. The template is simply cut out of boards, the thickness of which is slightly greater than the diameter or section of the pipe that needs to be bent.
These boards are securely fastened to each other so that the pipe cannot jump out of them during the bending process. To form a gutter, the boards to be fastened are simply cut at a slope for a round pipe. Then, the finished wooden template is attached to a table or other similar base. A stop is attached next to the template to fix the pipe.
Related article:
Do-it-yourself wood splitter: drawings, photos, instructions. How to choose a wood splitter. Types of wood splitter. Features of screw, hydraulic and rack wood splitter. Self-assembly of the unit.
A do-it-yourself pipe bender for a profile pipe of this type is able to bend even thick-walled pipes if you use a winch. If the pipe is profiled, then the bevels are not made when cutting the boards. Instead, the pipe is secured with multiple stops.
Using wood, you can even build a rolling pipe bender if you grind wooden rollers. They can also be made from bearings or polyurethane. In general, the complexity of making homemade pipe benders in a certain way depends on the flexibility of the pipe. Compliant options can be bent on wooden fixtures without much difficulty just by hand, but for rigid pipes, more complex devices with metal parts will be needed.
Making a homemade hydraulic pipe bender
If you decide to make a real hydraulic pipe bender, you need to get a hydraulic jack, channel, two rollers and a shoe. In addition, you will need several metal plates of steel over 3 mm thick.
From the channel with the help welding machine create a rectangular structure that is the same height as the fully extended jack. It is installed on a rigid base and securely fixed with metal plates.
The jack must be selected with a lifting capacity of at least 5 tons. It is designed to act as a pusher. The main task here is to find the most suitable videos. The difficulty is that only with the most accurate rolls around the pipe can a really high-quality bend be obtained. If you find different rollers and make them removable, you can bend pipes of different cross-sections and diameters.
The advantages of a hydraulic do-it-yourself pipe bender for a profile pipe are: ease of manufacture, availability and low cost of the jack and parts. Such a device allows you to bend any shaped and round pipes in a cold state with high quality.
How to make a rolling pipe bender yourself
The pipe bending process in a rolling mill is as follows. The pipe is laid on side rollers, and a third one is lowered onto it from above, fixing the product in a given position. When we start to rotate the handle, the chain drives the shafts in rotational motion, and the profile or round pipe is bent at the required angle.
To manufacture such a device, you must:
- grind rollers and bearing races. This task can be entrusted to a turner who, according to the drawings, will do the job in the best possible way. The device will have three shafts, one of which is suspended by springs, and the other two are fixed in the sides of the frame;
- mount the jack so that it can be used to easily adjust the downforce.
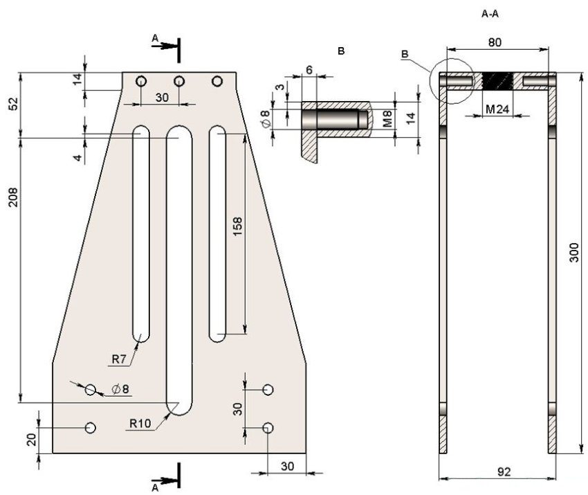
Useful advice! You will hardly be able to make a rolling pipe bender without drawings and calculations. If you do not have engineering knowledge, then it is better to find ready-made documentation on which to make a machine.
A pipe bender for a profile pipe with your own hands can be made. Its complexity depends on the purpose for which you need it. If these are only one-time actions, then wooden structures are enough. If you are engaged in the manufacture of products from a pipe on an ongoing basis, then you will need a more complex unit.


















