The need to heat a country house or summer cottage often causes difficulties associated with excessive financial costs, as well as the need for a long and complex installation. However, there are also alternative solutions. Consider one of the most convenient and popular options today - a bottled gas convector: prices, model characteristics and operating features will be presented in the article.
Content
- 1 What is a gas cylinder gas convector used for?
- 2 How does a gas convector for heating work?
- 3 How to calculate the power and gas consumption of a bottled gas convector
- 4 Gas convector on bottled gas: prices for heating devices
- 5 Overview of models of gas convectors on natural gas: prices, reviews and characteristics
- 6 Do-it-yourself gas convector installation: video and tips for installation
What is a gas cylinder gas convector used for?
Gas heating convectors have long been used by the inhabitants of Europe as one of the most economical devices for space heating. They run on natural gas, eliminate the need for old-fashioned stove equipment for owners, while reducing heating costs. At first glance, it may seem that it is easier to install a gas boiler, but in reality, the purchase of a convector will significantly reduce the budget for arranging heating.
Natural gas gas convectors cannot be called a panacea, because they are able to maintain the desired temperature only in a small house, annex or garage. In fact, if you use heating not in winter, but, for example, in spring or autumn, this will be quite enough to maintain a comfortable temperature in the room, and a high-power device will not be needed.
A gas convector for heating is the best way out if the house is not connected to a centralized power supply system or there are often power drops in the network. Thus, you can ensure constant autonomous heating of your home. Moreover, this method is several times more economical.
There are models of heaters that initially provide for the possibility of using liquefied gas as fuel, but for many models it is necessary to purchase a special adapter. The very same gas cylinder, under proper storage conditions, can be placed directly in the house.
Useful advice! Liquefied gas in a cylinder can be stored outdoors. To do this, you must first build a metal cabinet for it.
How does a gas convector for heating work?
One of the main advantages that a bottled gas convector can boast of is its efficiency reaching almost 90%. At the same time, the scheme of its operation is very simple: gas combustion occurs in a special chamber, where fresh air from the environment is constantly supplied. This maintains a flame that heats up the heat exchanger.
In turn, cold air from the room, getting inside the convector, collides with the heat exchanger and heats up. Warm air gets back into the room through special louvers fitted at the top of the device. The cycle repeats constantly and ends only when the indicator of the device reaches the set mark.
Here it is important to pay attention to the presence of a high-quality thermostat, since it is he who allows you to prevent overheating of the air in the room and economically use gas reserves. The ability to set the desired air temperature is another advantage of using this particular device.
Useful advice! To avoid the ingress of combustion products into the air, it is necessary to make a special outlet to the chimney.
How to calculate the power and gas consumption of a bottled gas convector
The first criterion that will determine the choice of a convector: is it planned to be used as the main source of heat, or as an additional one. Let's consider both options.
If the gas convector is the main source of heat that heats the room, then 40 W / m³ will be used for calculations. This means that 40 W of electrical power must be used to heat 1 m³ of space. Further calculations are extremely simple: the volume of the room is multiplied by 40 and the required power of the device is found.
You can often find another formula for calculating: 100 W / m². At first glance, it may seem that it is much easier to calculate in this way, but it is wrong to do this. The height of the ceilings in country houses can be very different, and if you do not take it into account in the calculations, then the purchased device in the end may simply not cope with the task at hand.
As an example, we will calculate the required power of the device for a room with an area of 25 m² and a ceiling height of 3.2 m. Using the formula, we get: 25x3.2x40 = 3200 W.
If the required power is too high and you cannot find a suitable device on sale, it makes sense to buy two or more devices and place them under the windows.
Placing convectors under windows is one of the best options, since, due to their ability to cut off cold air coming from the window, they help to maintain the desired room temperature even better.
The second option for using the convector is more common than the first. In this case, the device is used as an additional source of heat and works in conjunction with other devices when their power is insufficient. So, in severe frosts, it may be necessary to turn on the convector in order to create a comfortable temperature in the room.
If you plan to use the convector for this very purpose, then the calculations should be made from the following indicators - 25-35 W / m³. Here, all recommendations remain the same, and the calculation formula does not change. For example, for a room of 25 m² with a ceiling height of 3.2 m, the calculation will look like this: 25x3.2x30 = 2400 W.
If we talk about the consumption of gas by a gas convector per day, then here the indicators can be very diverse, depending on many different factors.As a guideline, use a value equal to 0.09 kg of bottled liquefied gas per 1 kW of thermal power of the device.
Gas convector on bottled gas: prices for heating devices
Before buying a gas heating convector, you need to understand what makes up its price and why some models may cost more than others. First of all, it depends on the material from which the heat exchanger is made, as well as some design features. The quality of the devices used to control the temperature can also affect the cost.

The cost of a gas heater may depend on the material of the body, the quality of the thermostat and functionality.
Useful advice! Be sure to pay attention to the fact that all documentation related to the further maintenance of the device is completed correctly. Otherwise, you will have to repair the gas convector yourself or hire a specialist at your own expense.
A heat exchanger made of cast iron is much more expensive than a steel one. Its service life is guaranteed for 50 years. So in this case, the waste will be justified. As for the design features, this means the presence of a vertical or horizontal chimney.
In this case, there is no fundamental difference, but it is worth starting from the fact that vertical systems, although they have high power, can not be installed everywhere. For example, for a bedroom, this is not a suitable option due to the large volume of burnt gas.
Another factor affecting the price of the device is the presence of a fan. A gas convector with a fan ensures more intensive air circulation in the room. At the same time, the price of a gas wall convector will not differ too much from a floor model with the same parameters.
The average price for this type of device ranges from 20-30 thousand rubles. However, you can find both cheap models for 10-12 thousand rubles, and more expensive devices. It all depends on the power and the availability of additional functions. More details on the prices of specific convectors will be discussed below.
Overview of models of gas convectors on natural gas: prices, reviews and characteristics
The prices of natural gas gas convectors, as well as their variety, are not limited by anything. Therefore, today it is not difficult to choose the right option. Consider the most popular models of gas heaters for summer cottages. Convectors from these manufacturers almost always receive only approving reviews.
Gas convectors Alpine Air
Wall mounted gas convectors of Turkish production occupy one of the leading positions in the modern market. They are convenient, compact, efficient, and affordable. To get a complete picture of the proposed product, consider several models in the form of a comparative table.
| Convector model | Dimensions, mm | Weight, kg | Power, W | Gas consumption m³ / hour | Chimney diameter, mm | Built-in fan | Heat exchanger | price, rub. |
| Alpine Air NGS-20 | 630x455x220 | 22 | 2200 | 0,24 | 150 | no | cast iron | 17000 |
| Alpine Air NGS-30F | 360x455x220 | 22 | 3000 | 0,32 | there is | 19200 | ||
| Alpine Air NGS-50 | 630x605x220 | 30 | 4900 | 0,51 | no | 20000 | ||
| Alpine Air DT-5000 | 550x607x310 | 20 | 5000 | 0,46 | no | steel | 11900 |
Any of these models can be selected for home use. The most suitable option should be selected, focusing on the area of the room that will be heated, as well as your own financial capabilities.
Useful advice! You should not buy too powerful a device for a small room. This will give nothing but overheating of air and excessive gas consumption.
Hosseven gas convector
Gas convector Нosseven HDU 3 is perhaps the most popular representative of this Turkish company in our country. With an average cost of about 22,850 rubles, it has a pretty decent power of 3000 W and is a worthy competitor to similar models. Device parameters:
- dimensions: 635x470x270 mm;
- weight: 23.8 kg;
- combustion chamber: cast iron;
- there is no built-in fan in the device.
A feature of this design is that the air intake is carried out through a special horizontal telescopic pipe, which is connected to the convector from the reverse side. Thus, the device does not absorb oxygen inside the room and does not need a traditional chimney.
Gas convector on bottled gas: reviews and advantages of use
If we summarize all the information considered, and also take into account the reviews, gas convectors can be quite attributed to the best options for solving the problem, both with main and with additional heating. Among its advantages are:
- full autonomy, independence from power supply or any other communications;
- ease of installation compared to gas boilers;
- economy of use and low fuel costs;
- there is no need to equip a special boiler room to install the device;
- there is no need to be afraid that the water in the system will freeze;
- the process of heating the air to the required temperature occurs very quickly.
Caring for this type of device can also be attributed to their number of advantages. The simplicity of the design allows, if necessary, to repair the gas convector with your own hands, if the warranty period has already expired. However, it will be safer to seek professional help in order to avoid possible problems with gas leaks, etc.
Do-it-yourself gas convector installation: video and tips for installation
In order to carry out work on the installation of a wall-mounted gas convector without the involvement of specialists, you will need a number of tools and the ability to use them:
- drill with drills;
- perforator with a crown;
- screwdrivers;
- polyurethane foam;
- wrenches of appropriate diameters;
- plastic dowels and screws;
- convector;
- gas cylinder;
- gas supply kit.
First of all, decide on the place where you plan to install the device. There are requirements stipulated by GOST: if possible, the gas convector should be installed under the window. If, due to the peculiarities of the layout, this is not possible, it is necessary to place it as close as possible to the window.
Helpful advice! It is important not only to choose a place, but also to make sure that the convector model you have purchased fits there and will not interfere with pieces of furniture or free movement around the room.
After that, you can proceed to measuring and marking the required holes. For this, a tape measure and a pencil are used. The most important point at this stage is to clearly determine where the gas inlet will be located if you plan to install the cylinder in another room or outdoors.
Drill the required holes and drive the dowels into them. Fix the convector to the wall using self-tapping screws. Seal cracks and openings using polyurethane foam that could be a source of cold air. After that, you can go directly to the connection of the gas cylinder to the convector.

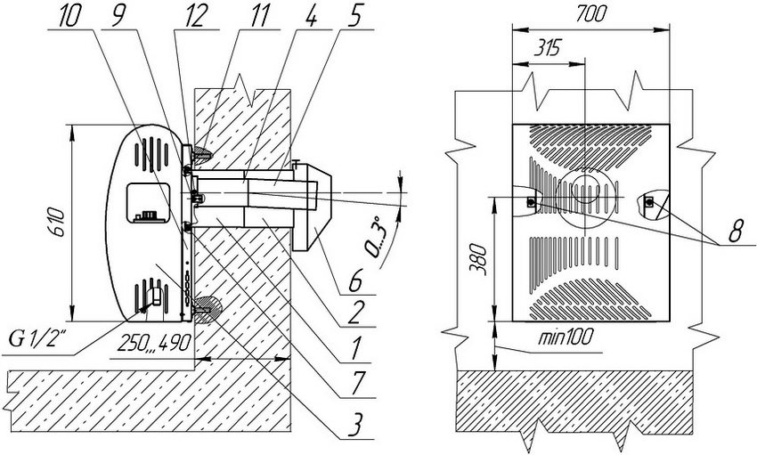
Convector installation. 1 - air duct branch pipe; 2 - air duct section; 3 - convector; 4 - chimney pipe; 5 - chimney section; 6 - protective grill; 7 - sealant; 8 - heat exchanger fastening nut; 9 - mounting bolt; 10 - mounting plate; 11 - mounting sleeve; 12 - self-tapping screw
The installation of a gas convector is completed with a test run, which is carried out only after you make sure that all joints are tight and there is no gas leak anywhere. After the first start-up, be sure to adjust the device.
Helpful advice! During the first few hours of operation, the camera burns out and you may smell burning oil.This is not dangerous and can be easily eliminated by ventilating the room.
So, if you decide to buy a bottled gas convector, then you have a difficult choice. Before buying, be sure to carry out all the necessary calculations and decide which type of device is most suitable for you. After that, you will be able to make the right choice and provide your house, garage or extension with warmth during the cold season.














